如何提高汽輪機凝汽器膠球清洗效果
在汽輪機運行中,凝汽器膠球清洗的新技術在我國電廠中已得到廣泛應用,它對于提高汽機真空、降低端差,提高熱機效率,降低發電煤耗,節能增產,已取得顯著效果;同時對于改進人工清洗的衛生環境,搞好文明生產,減輕檢修工人的勞動強度,也具有明顯的優越性。膠球清洗凝汽器的新技技已被電力部作為電力生產中節約能源的一項重要措施,予以推廣,到目前為止,據大概統計:北京地區已有41.6%的機組采用,河北省有68.6%的機組采用,河南省已有95.5%的機組采用,山東省已有90%的機組采用,江蘇省已有87.5%的機組采用‘遼寧省已有79.5%的機組采用,上海已有72.9%的機組采用…….這些膠球清洗裝置的使用情況絕大多數是運用良好的,經濟效果也是非常顯著的。如某廠一臺12.5萬機組采用了膠球清洗裝置之后,真空提高了8—10毫米汞柱,年運行8000小時.在不增加燃料量的情況下,每年可多發電800—1000萬度,煤耗大約降低3克標準煤.每年可為國家節約標準煤3000余噸,全國所有新老機組如部能裝上清洗裝量,而且運用效果又佳的話,年節煤量是一個很可觀的數量。
但是,根據我們的調查了解:全國各電廠的現狀并不都是那么理想的.部分電廠的膠球清洗裝置效果是好的,幾年來實踐證明:水阻小,收球率比較穩而高,這是主流。部分電廠的膠球清洗裝置設備剛開始投入運行時,比較好,但運行過一段時間,由于某種原因,效果就不那么明顯了;但也有少數電廠從裝置投運開始,收球率就很低,水阻很大,不能投入運行,消耗了大量的投資,得不到理想收效,
據調查和了解,膠球清洗裝置清洗效果好的原因,主要是:
膠球清洗裝置設計性能先進:裝置的制造質量精良:安裝正確和維修保養的好運行管理的好,有明確嚴格正式的膠球清洗裝置的運行操作規程;由人來運行操作,因此.為了進一步推廣和應用膠球清洗技術,提高清洗效果,我們提出以下幾點建議、以供各電廠和制造廠參考。
一、選用性能好的設備
1.選用性能先進、又適合電廣實際情況的設計方案,這包括清洗系統的設計和配套設備的結構設計,
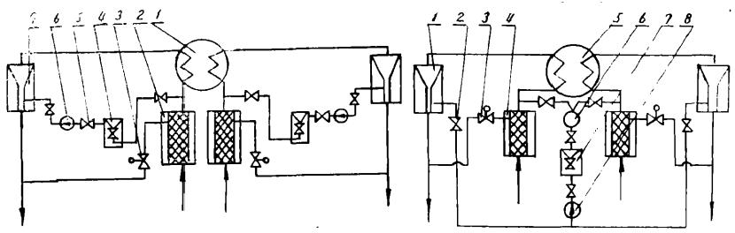
(1)膠球清洗裝置系統設計和控制膠球清洗系統由二次濾網、收球網、膠球泵、裝球室、伐門及管道附件、挖制機構和指示儀表組成、具體布置又按凝汽器循環水管徑分Dg1200及以上(圖一)和Dg1200以下(圖
二)兩種。
圖一:Dg1200以上系統圖
1.凝汽器2.二次濾網3.電動閘伐4.裝球室5.球伐6.膠球輸送采7.收球網
圖二Dg1200以下系統圖
1.收球網2.球伐3.電動閘伐4.二次濁網5.凝汽器6.分配器7.裝球室8.膠球輸送泵
開式循環排污可直接排入循環水出水管中.閉式循環排污需另行按排排污渠道,切不可直接排入循環水出水管中,以避免惡性循環,南方電廠大多數采用開式循環,北方電廠大多數采用閉式循環。當采用開式循環時,循環水中含有大量污物,如雜草、樹葉、廢紙、魚蝦、蚌等等,雖然已采用了一次濾網,還必須加設二次濾網,進一步凈化循環水,這樣才能保證清洗裝置的收球率和清洗系統的正常運行。否則清洗系統就會受到嚴重影響,造成收球率降低,致使清洗系統失效。
當采用閉式循環時,由于采用了機力通風塔或雙曲線涼水塔,因而循環水潔凈無雜質,
這樣也可以不采用二次濾網,收球率照樣很高,同時減少了設備,投資省,簡化了操作及維修。
總之,二次濾網是否采用應根據各電廠循環水質的潔凈來考慮,從而設計完善的清洗系統。
膠球清洗系統控制應根據膠球清洗裝置運行的特點(加球、換球等工序需人工操作)及我國各電廠運行自動化水平.系統采用就近表盤集中電控的控制式為宜、對于自動化程度高的大型電廠,應在汽輪機集控室中增設信號裝置,以便監視。
(2)膠球清洗設備的結構設計:
二次濾網
二次濾網是保證膠球清洗裝置系統正常工作的關鍵設備,既要求過濾效果好,又要求阻力損失小。目前國內電廠所采用的二次濾網有柵格式二次濾網、固定切向式二次濾網、帶蝶伐外旋式二次濾網、帶哈夫蝶伐內旋式二次濾網和負壓反沖式二次濾網等多種結構形式,這許多種二次濾網,對一個電廠來說,要根據循環水的運行方式、循環水源的水質情況、循環水管徑走向、凝汽器的規范特性等情況,采用適合這些情況的二次濾網。
A.柵板式二次濾網:這類二次濾網還有固定柵板式,園錐形固定柵板和翻板式多種。結構簡單,制造容易、省工省料、成本低,但水阻大,排污清網困難,不適合大機組采用,僅適用于1萬千瓦以下的機組,現已被淘汰。
B.固定切向式二次濾網:結構簡單,鋼材用量少,維護工作量小,可連續排污,故平時不需要操作,但水阻比較大,積污死區約占渠網通流面積的小機組的老機改造時采用,現已逐漸被淘汰。
適于10萬千瓦以下。
C.帶蝶伐外旋式二次濾網:立式安裝、體積較大,有一個前置蝶伐,配合自動控制,其結構不太復雜,牢固可靠,不易出故障,水阻小,排污性能好;但瞬時排污量大,約占總進水量3~10%,并有積污死區。它廣泛適用于河、湖、海水作循環水,含有硬質雜物(如貝殼、小石塊等)的水質情況下的中大型機組。
D.帶哈夫蝶伐內旋式二次濾網:中間進水臥式安裝,結構復雜,體積大,有前置哈夫蝶伐,制造困難,價格昂貴、操作頻繁、需自動控制。它的性能是水阻小,瞬時排污量大,約占總進水量5%以上,并有積污死區。它廣泛應用于河、湖、海水作循環水,含有硬質雜物的水質情況下的中大型機組。
E.負壓反沖式二次濾網:其網芯可以轉動,中間進水臥式安裝,結構和運行操作復雜、易出故障,護修工作量大,制造困難,價格高,但水阻很小,無積污死區,瞬時排污量占總進水量的5%,它很適合以河水,含有雜草、樹葉等輕質污物的水質情況作循環水的電廠,但由于結構復雜、易發生故障,目前僅在10萬以下機組采用收球網:
收球網是膠球清洗裝置的重要部件之一,一個好的收球網應該水阻小,在機組長期運行中不積球、不逃球,只有這樣,才能保證整個清洗裝置有高而穩定的收球率。目前國內電廠大部分采用固定錐形收球網和活動柵格型收球網兩種。
A、固定錐形收球網:外形為園錐形、長條孔交錯排列,結構簡單,沒有操作機構,制造容易,價格低,但網體長.受安裝布置限制,它的性能是水阻較大、易積球,收球率不穩定,適合采用閉式循環水的中小型機組。
B、活動柵格型收球網:結構復雜,上收球網和下收球網都是活動的,制造工藝要求高,價格貴,運行操作復雜,要求嚴格.但它的性能優越,水阻小、收球率高、穩定,一般都在95%以上.廣泛適用于大中型機組。
裝球室:
目前國內電廠安裝使用的大體有臥式柵格型和立式園錐形二種.
A、臥式柵格型裝球室:結構簡單,但水阻大,球易塞貼在網孔上,收球不集中、屬于淘汰結構。
B、立式園錐型裝球室:結構不太復雜,水阻小,收球集中,取球和加球方便,是目前較完善的結構形式,適用于各種類型的機組。
膠球輸送泵:
作為膠球輸送的用泵,目前國內只有SS125—9型(415QX—9型)一種,它具有對膠球磨損低,不堵球,不切球的特點,許多電廠的生產實用證明是一種很理想,很完善的膠球輸送泵,廣為電廠各種類型機組采用,其它的代用泵如2±PW.3PW、4PW的污水泵、射水泵等均屬淘汰型。
2.選用制造質量好的產品:
膠球清洗裝置凝汽器的先進技術,電力部正式決定在全國各電廠普遍推廣采用已有四年多了,各地發電廠都很重視,自行設計制造、自行安裝,投入了不少套膠球清洗裝置,由于設計不統一,沒有形成標準化、系列化,除了前面已經講到的品種、類型繁多,性能差異很大存在選用不合理的問題外,在各自的制造質量上也有很大差別。例如,某電廠由于受設備條件和加工能力的限制,清洗裝置的零部件委托公社農機廠加工,在安裝時,就發現質量不符合要求,還有的在制造時無技術標準,工藝粗糙,質量很差,嚴重影響了收球率,例如:某電廠的收球網中的“柵格板條”曾發生斷裂和脫焊而造成間隙過大,收球率下降。因此各電廠可以根據本廠的實際情況,選用適宜的清洗裝置,到門制造廠訂貨。河北省邯鄲電力修造廠作為電力部的膠球清洗裝置業生產廠,可提供技術先進,質量優良的全套設備,從5萬機組到30萬機組,已形成系列化,標準化。該廠和電力部西安熱工所合作,成立了“膠球清洗裝置技術服務站”該技術服務站可以承擔勘測設計,設備制造,安裝調試,并保證收球率達到90%以上。
二、膠球清洗裝置安裝正確和維修保養好
一個好的膠球清洗裝置除設計和制造好外,尚需安裝正確和維修保養好,如上所述,由于幾年來的膠球清洗裝置大部分是各電廠自行設計和安裝的,設備上難免出現各種問題,因此,就需要通過一段運行實踐后,對設備存在的問題進行改進和維修。為什么有的電廠在剛開始安裝收球率高,運行過一段時間之后,效果就不太明顯了,其中很重要的一條就是維修保養差。反之,維修保養的好,收球率就穩定,效果明顯。例如,某電廠30萬千瓦機組的收球網在運行中受到水沖擊作用,曾發生大網板軸及彎板彎曲變形,后進行校正,運行至今尚好。又如某電廠12.5萬千瓦機組發現收球率下降后,利用停機機會,對收球網進行檢查,發現在上收球網的擴口柵格與下方箱之間有卡球現象,經檢查系間隙過大而造成,后對間隙大的地方進行修整,收球率得到恢復。因此,實踐證明:只有維修保養好,才能收到較好的效果。
三、膠球清洗裝置運行管理的好
1.制定完善的運行操作規程:
許多電廠的實踐證明:制訂完善的運行操作規程,并嚴格按規程運行操作,才能收到清洗的實效。許多電廠根據一年四季循環水質的變化情況,規定膠球清洗的開停時間,運行周期,清球補球等操作事項.列入汽輪機組運行規程的內容之中,嚴格執行,已收到很好的效果。
2.設人運行操作
電廠膠球清洗裝置所以能正常運行,效果顯著,設人運行操作是他們的重要經驗。據我們了解,有的廠由汽機輔機運行值班兼管,不能按時投用,有時交接班不清,特別是做不到根據循環水質、真空度、端差的變化,調整清洗時間和清洗次數;不能及時剔除小球,補充好球,保證膠球數量;不能認真填好“收球率測定記錄表”和“各測點壓力記錄表”等表格,針對數據進行分析。結果使膠球清洗裝置運用情況不良,乃至失效。因此,設人運行操作是重要的一條。